欢迎来到第壹文秘! | 帮助中心 分享价值,成长自我!
第壹文秘
全部分类
  • 幼儿/小学教育>
  • 中学教育>
  • 高等教育>
  • 研究生考试>
  • 外语学习>
  • 资格/认证考试>
  • 论文>
  • IT计算机>
  • 法律/法学>
  • 建筑/环境>
  • 通信/电子>
  • 医学/心理学>
  • ImageVerifierCode 换一换
    首页 第壹文秘 > 资源分类 > DOCX文档下载
    分享到微信 分享到微博 分享到QQ空间

    烟花爆竹流向标识编号登记管理要求.docx

    • 资源ID:1338641       资源大小:84.12KB        全文页数:7页
    • 资源格式: DOCX        下载积分:5金币
    快捷下载 游客一键下载
    账号登录下载
    三方登录下载: 微信开放平台登录 QQ登录
    下载资源需要5金币
    邮箱/手机:
    温馨提示:
    快捷下载时,如果您不填写信息,系统将为您自动创建临时账号,适用于临时下载。
    如果您填写信息,用户名和密码都是您填写的【邮箱或者手机号】(系统自动生成),方便查询和重复下载。
    如填写123,账号就是123,密码也是123。
    支付方式: 支付宝    微信支付   
    验证码:   换一换

    加入VIP,免费下载
     
    账号:
    密码:
    验证码:   换一换
      忘记密码?
        
    友情提示
    2、PDF文件下载后,可能会被浏览器默认打开,此种情况可以点击浏览器菜单,保存网页到桌面,就可以正常下载了。
    3、本站不支持迅雷下载,请使用电脑自带的IE浏览器,或者360浏览器、谷歌浏览器下载即可。
    4、本站资源下载后的文档和图纸-无水印,预览文档经过压缩,下载后原文更清晰。
    5、试题试卷类文档,如果标题没有明确说明有答案则都视为没有答案,请知晓。

    烟花爆竹流向标识编号登记管理要求.docx

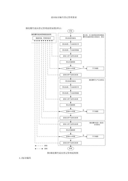
    流向标识编号登记管理要求烟花爆竹流向登记管理流程如图5所示:图5烟花爆竹流向登记管理流程图A.2标识编码A.2.1A级和B级烟花爆竹(不含礼花弹)、黑火药、引火线以及烟花爆竹用退役单基火药包装标识码A.2.1.1编码要求实行流向登记的产品,应按产品类别、级别、产品编号、生产企业、生产日期、序列号和内装产品数量编制规范性代码,并进行登记和管理。A.2.1.2编码格式包装标识码使用数字、字符或其混合方式表示,字符严格区分大小写,编码格式如下:X1-X2-X3-X4-X5-X6-X7a) Xl为产品小类代码,采用按照GB10631规定的产品小类;b) X2为产品级别代码,采用按照GB10631规定的产品级别;无级别信息的,使用数字“0”表示;C)X3为产品编号,采用烟花爆竹流向管理信息系统中企业登记产品信息的产品编号;d)X4为生产企业代号,采用烟花爆竹流向管理信息系统中为生产企业赋予的企业代号;e)X5为生产日期;f) X6为包装标识序列号,采用阿拉伯数字顺序号表示;g) X7为内装产品数量,A级和B级烟花爆竹(不含礼花弹)采用每箱中产品数量表示;引火线采用每箱总长度表示;黑火药、烟花爆竹用退役单基火药采用每箱总重量表示。A.2.2C级和D级烟花爆竹包装标识码A.2.2.1编码要求实行流向登记的产品,应按产品类别、级别、产品编号、生产企业和批次号编制规范性代码,并进行登记和管理。A.2.2.2编码格式包装标识码使用数字、字符或其混合方式表示,字符严格区分大小写,编码格式如下:X1-X2-X3X5a) Xl为产品小类代码,采用按照GB10631规定的产品小类;b) X2为产品级别代码,采用按照GB10631规定的产品级别;无级别信息的,使用数字“0”表示;C)X3为产品编号,采用烟花爆竹流向管理信息系统中企业登记产品信息的产品编号;d)X4为生产企业代号,采用烟花爆竹流向管理信息系统中为生产企业赋予的企业代号;e)X5为批次号,采用后2位年份、批次顺序号表示。A.2.3礼花弹产品标识码A.2.3.1编码要求实行流向登记的产品,应按产品类别、级别、产品编号、生产企业、型号、生产日期和序列号编制规范性代码,并进行登记和管理。A.2.3.2编码格式产品标识码使用数字、字符或其混合方式表示,字符严格区分大小写,编码格式如下:X1-X2-X3-X4-X5-X6-X7a) Xl为产品小类代码,采用按照GB10631规定的产品小类;b) X2为产品级别代码,采用按照GB10631规定的产品级别;无级别信息的,使用数字“0”表示;C)X3为产品编号,采用烟花爆竹流向管理信息系统中企业登记产品信息的产品编号;d)X4为生产企业代号,采用烟花爆竹流向管理信息系统中为生产企业赋予的企业代号;e) X5为产品型号,采用按照GB10631规定的礼花弹型号;f) X6为生产日期,采用日期表示;g) X7为产品标识序列号,采用阿拉伯数字顺序号表示。A.2.4礼花弹包装标识码A.2.4.1编码要求实行流向登记的产品,应按产品类别、级别、产品编号、生产企业、型号、生产日期、序列号和数量编制规范性代码,并进行登记和管理。A.2.4.2编码格式包装标识码使用数字、字符或其混合方式表示,字符严格区分大小写,编码格式如下:Xl-X2-X3-X4-X5-X6-X7-X8a) Xl为产品小类代码,采用按照GB10631规定的产品小类;b) X2为产品级别代码,采用按照GB10631规定的产品级别;无级别信息的,使用数字“0”表示;C)X3为产品编号,采用烟花爆竹流向管理信息系统中企业登记产品信息的产品编号;d)X4为生产企业代号,采用烟花爆竹流向管理信息系统中为生产企业赋予的企业代号;e) X5为产品型号,采用按照GB10631规定的礼花弹型号;f) X6为生产日期,采用日期表示;g) X7为产品标识序列号,采用阿拉伯数字顺序号表示;h) X8为内装产品数量,采用阿拉伯数字表示。A.3包装标识和产品标识生产企业应对烟花爆竹和黑火药、引火线及烟花爆竹用退役单基火药等原材料包装箱及产品进行标识并编号。已经按本文件标识的登记产品,不需再次标识。登记企业得到的除礼花弹外的烟花爆竹和黑火药、引火线,包装箱上应已经粘贴包装标识标签。登记企业得到的礼花弹和烟花爆竹用退役单基火药,包装箱上应已经粘贴电子登记标签和包装纸质标识标签。礼花弹包装箱内产品需要标识并编号的,应在产品上粘贴产品纸质标识标签。A.3.1.1登记标签外形礼花弹电子登记标签外形如图6所示:商标可根据礼花弹生产企业或出品人的要求印制,也可不印制商标。A.3.1.2相关要求标签尺寸为:宽54±1mm,高86+lmm,O.ImmW厚WImm(包括芯片所在位置)。应做易撕毁的预切(横竖贯通整个标签或边缘“米”字型),一旦附着后被撕下应不具完整性,且不能被有效读写,严禁重复使用。经过统一初始化处理,芯片中记录内容,应予加密认证存储,可用的数据容量4kbit,芯片全球唯一UID。应采用按照GB/T33848.3工作频率为13.56MHz±7kHz的专用芯片,标签与读写器之间的感应距离应23Omm;或采用按照IS0/IEC18000-63要求工作频率为860MHz-960MHZ的专用芯片,标签与读写器之间的感应距离应为IOCm-400cm。A.3.2礼花弹包装标识标签A.3.2.1标识标签外形礼花弹包装标识标签外形如图7所示:专业盛放类包装标识码(3Iiabbhbb)生产作业N林产品林C类别级别)型号箱含at;/粕含药一维码,形|一堆码文字图7礼花弹包装标识标签A.3.2.2相关要求标签尺寸为:宽47±lmm,高35±lmm,QR码图形不大于15x15mm。礼花弹包装箱粘贴包装标识标签,应做易撕毁的预切(横竖贯通整个标签或边缘“米”字型),一旦附着后被撕下应不具完整性,且不能被有效读写,严禁重复使用。A.3.3礼花弹产品标识标签A.3.3.1标识标签外形礼花弹产品标识标签外形如图8所示:专业燃放类包装标识码(naabbbbb)QR码图形生产企业名标产品N除(大剧级别)型号含典:一维码图形一雉码文字图8礼花弹产品标识标签A.3.3.2相关要求标签尺寸为:宽47±lmm,高35±lmm,QR码图形不大于15x15mm。礼花弹产品粘贴产品标识标签,应做易撕毁的预切(横竖贯通整个标签或边缘“米”字型),一旦附着后被撕下应不具完整性,且不能被有效读写,严禁重复使用。A.3.4C级和D级烟花爆竹包装标识标签A.3.4.1标识标签外形C级和D级烟花爆竹包装标识标签外形如图9所示:个人燃放类生产企业名称QR码图形产品名称(类别级别)箱含量:/箱含药量:一堆码图形维码文字图9C级和D级烟花爆竹包装标识标签A.3.4.2相关要求标签尺寸为:宽90±lmm,高35±lmm,QR码图形不大于23x23mm。C级和D级烟花爆竹粘贴包装标识标签,应做易撕毁的预切(横竖贯通整个标签或边缘“米”字型),一旦附着后被撕下应不具完整性,且不能被有效读写,严禁重复使用。A.3.5A级和B级烟花爆竹(不含礼花弹)包装标识标签A级和B级烟花爆竹(不含礼花弹)包装标识标签外形如图10所示:专业燃放类生产企业名称QR码图形产品名称(类别级别)箱含量:/箱含药量:一维码图形维码文字图10A级和B级烟花爆竹(不含礼花弹)包装标识标签A.3.5.2相关要求标签尺寸为:宽90±1mm,高35±lmm,QR码图形不大于23x231111n°A级和B级烟花爆竹(不含礼花弹)粘贴包装标识标签,应做易撕毁的预切(横竖贯通整个标签或边缘“米”字型),一旦附着后被撕下应不具完整性,且不能被有效读写,严禁重复使用。A.3.6黑火药、引火线包装标识标签A.3.6.1标识标签外形黑火药、引火线包装标识标签外形如图12所示。原材料生产企业名称QR码图形产品名称含药品一维码图形维码文字图11黑火药、引火线包装标识标签A.3.6.2相关要求标签尺寸为:宽90±lmm,高35±lmm,QR码图形不大于23x23mm。黑火药、引火线粘贴包装标识标签,应做易撕毁的预切(横竖贯通整个标签或边缘“米”字型),一旦附着后被撕下应不具完整性,且不能被有效读写,严禁重复使用。A.3.7烟花爆竹用退役单基火药电子登记标签+包装标识标签A.3.7.1标识标签外形烟花爆竹用退役单基火药电子登记标签+包装标识标签外形如图11所示。原材料生产企业名称QR码图形产品名称含药量:一堆码图形维四文字图12烟花爆竹用退役单基火药包装标识标签A.3.7.2相关要求标签尺寸为:宽90±lmm,高35±lmm,O.ImmW厚Wlmm(包括芯片所在位置),QR码图形不大于23x23mm。烟花爆竹用退役单基火药粘贴包装标识标签,应做易撕毁的预切(横竖贯通整个标签或边缘“米”字型),一旦附着后被撕下应不具完整性,且不能被有效读写,严禁重复使用。经过统一初始化处理,芯片中记录内容,应予加密认证存储,可用的数据容量24kbit,芯片全球唯一UID。应采用按照GB/T33848.3工作频率为13.56MHz±7kHz的专用芯片,标签与读写器之间的感应距离应230mm;或采用按照ISO/IEC18000-63要求工作频率为860MHz-960MHZ的专用芯片,标签与读写器之间的感应距离应为IoCm-400cm。A.3.8粘贴要求产品标识标签靠近产品标识粘贴,包装标识标签和登记标签粘贴在包装箱的表面;包装箱中包装标识标签的编号应与包装箱表面登记标签的编号相同。

    注意事项

    本文(烟花爆竹流向标识编号登记管理要求.docx)为本站会员(p**)主动上传,第壹文秘仅提供信息存储空间,仅对用户上传内容的表现方式做保护处理,对上载内容本身不做任何修改或编辑。 若此文所含内容侵犯了您的版权或隐私,请立即通知第壹文秘(点击联系客服),我们立即给予删除!

    温馨提示:如果因为网速或其他原因下载失败请重新下载,重复下载不扣分。




    关于我们 - 网站声明 - 网站地图 - 资源地图 - 友情链接 - 网站客服 - 联系我们

    copyright@ 2008-2023 1wenmi网站版权所有

    经营许可证编号:宁ICP备2022001189号-1

    本站为文档C2C交易模式,即用户上传的文档直接被用户下载,本站只是中间服务平台,本站所有文档下载所得的收益归上传人(含作者)所有。第壹文秘仅提供信息存储空间,仅对用户上传内容的表现方式做保护处理,对上载内容本身不做任何修改或编辑。若文档所含内容侵犯了您的版权或隐私,请立即通知第壹文秘网,我们立即给予删除!

    收起
    展开